Parliamo di brevetti Apple ma questa volta non ci sono rumors riguardanti i nuovi modelli di iPhone od iPad nemmeno display 3D o maxi-schermi targati Apple; no, questa volta il brevetto registrato allo United States Patent & Trademark Office (USPTO) riguarda qualcosa di … addirittura buffo. Coraggio, scopritelo con noi.
Questo strano aggeggio, nel quale però è ben riconoscibile il logo della mela morsicata, altro non sarebbe se non l’attrezzo (o meglio sarebbe dire la lama) che in Apple utilizzano per ritagliare il loro celeberrimo logo.
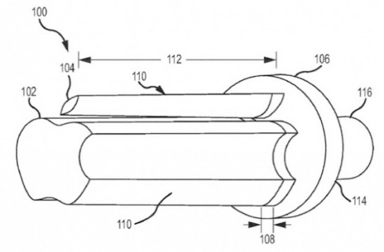
Dalla seconda immagine che vi riportiamo sembrerebbe di capire che il fine dell’attrezzo è od era quello di ritagliare il logo sulle confezioni dei prodotti Made in Cupertino. Il nome del brevetto è Aparathus and Method for Intricate Cuts e queste le parole con cui viene descritto.
The cutting apparatus includes a base member and an elongate member extending from the base member. The elongate member includes a tapered region having an abrasive surface. The tapered region defines at least one vertex defining an angle of a desired cutout shape. Additionally, the tapered region is toothless.
Un’ultima curiosità: la domanda di brevetto può essere recuperato da chiunque inserendo l’ID 20110183580 nel motore di ricerca dell’USPTO.


Prova la nuova sezione commenti!